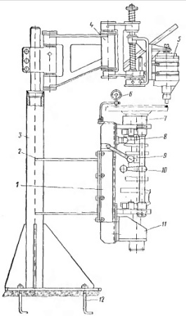
Для разборки и сборки коленчатого вала с маховиком и сцеплением в сборе применяется стенд [рис. 1] сварной конструкции. Опорная труба (3) своим основанием крепится к фундаменту болтами (12). К поперечным балкам (2), приваренным к опорной трубе, прикреплена в вертикальном положении рама (1) стенда. На нижней опоре (11) рамы закрепляют конец коленчатого вала, а в верхней опоре (7) – фланец. В таком положении вал фиксируется механизмом фиксации реечного типа. Рукояткой (9) выдвигают захват (8) механизма фиксации, который прижимает коленчатый вал за шатунную шейку. Рукояткой (10) поворачивают подвижную часть опоры коленчатого вала, шарнирно соединённую с неподвижной частью.

Рис. 1. Стенд для разборки-сборки коленчатого вала в сборе с маховиком и сцеплением.
1) – Рама;
2) – Поперечная балка;
3) – Опорная труба;
4) – Поворотный кронштейн;
5) – Электрический гайковёрт;
6) – Индикатор;
7) – Верхняя опора;
8) – Захват;
9) – Рукоятка;
10) – Рукоятка;
11) – Нижняя опора;
12) – Болты.
Закрепив коленчатый вал в сборе с маховиком и сцеплением на стенде, посредством электрического гайковёрта (5), демонтируют сцепление и маховик. Индикатором (6) пользуются при сборке узла.