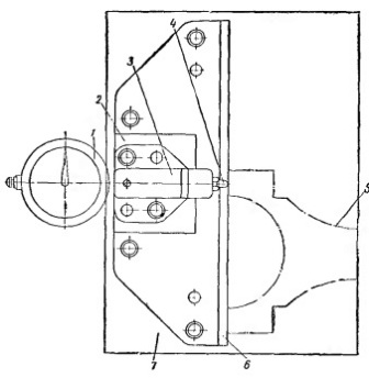
Шатун двигателя автомобиля ЗИЛ-130. Приспособление для проверки перпендикулярности плоскостей разъёма относительно торцовых поверхностей шатуна и крышки


* * *

Для проверки перпендикулярности плоскостей разъёма относительно торцовых поверхностей шатуна и крышки используется приспособление [рис. 1], которое состоит из индикаторной головки (1) с устройством (3) для её привода, которое закреплено на подставке (2). Подставка (2) и упорная плита (6) закреплены на основании (7) приспособления.

Приспособление для проверки перпендикулярности плоскостей разъёма относительно торцовых поверхностей шатуна и крышки

Рис. 1. Приспособление для проверки перпендикулярности плоскостей разъёма относительно торцовых поверхностей шатуна и крышки.

1) – Индикаторная головка;

2) – Подставка;

3) – Устройство привода;

4) – Стержень индикаторного приспособления;

5) – Шатун;

6) – Упорная плита;

7) – Основание.

26*

Яндекс.Метрика