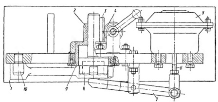
Для растачивания отверстия в нижней головке шатуна на алмазно-расточном станке модели 278Н используют приспособление [рис. 1], которое состоит из плиты (1), пальцев (8) и (10) для центрирования шатуна и пневматического зажимного устройства.

Рис. 1. Приспособление для растачивания отверстия нижней головки шатуна.
1) – Плита;
2) – Фланец;
3) – Рейка;
4) – Шестерёнка;
5) – Пневматическая камера;
6) – Шток;
7) – Коромысло;
8) – Палец;
9) – Втулка;
10) – Палец.
Палец (10) прикреплён к неподвижной плите, а палец (8) может перемещаться во втулке (9) и фланце (2) посредством рейки (3) и шестерёнки (4). В крайнем верхнем положении палец (8) фиксируется.
Зажимное устройство состоит из пневматической камеры (5), закреплённой на плите (1), штока (6) и коромысла (7).