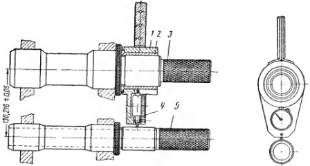
Втулки распределительного вала до ремонтного размера растачивают на расточном станке. Установив резцы на борштанге на требуемый размер, растачивают одновременно все втулки, обеспечивая шероховатость поверхности 7. По окончании механической обработки проверяют точность расточки втулок, а также параллельность оси втулок распределительного вала и оси отверстий коренных опор контрольным приспособлением [рис. 1] на скалку (3), вставленную в отверстия коренных опор блока цилиндров, надевают внутреннюю втулку (2) и корпус (1) приспособления. В корпусе (1) вмонтирован и выверен индикатор (4). При точной расточке втулок распределительного вала индикатор (4), касаясь скалки (5) установленной в отверстия втулок распределительного вала, не должен показывать отклонений от размера более 130, 216±0,05 мм.

Рис. 1. Приспособление для замера межцентрового расстояния отверстий коренных подшипников блока цилиндров.
1) – Корпус;
2) – Внутренняя втулка;
3) – Скалка;
4) – Индикатор;
5) – Скалка.