Фрезерование пазов в крышках коренных подшипников блока цилиндров двигателя автомобиля ЗИЛ-130


* * *

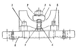
Для фрезерования внешнего паза в крышке переднего подшипника и фасонного паза в крышке заднего коренного подшипника используется приспособление, показанное на [рис. 1]. Крышку устанавливают на цилиндрический и ромбический пальцы плиты и прижимают планкой.

Приспособление для фрезерования внешнего паза в крышке переднего и обработки фасонного паза в крышке заднего коренного подшипников

Рис. 1. Приспособление для фрезерования внешнего паза в крышке переднего и обработки фасонного паза в крышке заднего коренного подшипников.

1) – Цилиндрический палец;

2) – Шайба;

3) – Гайка;

4) – Планка;

5) – Ромбический палец;

6) – Упор;

7) – Пружина;

8) – Плита.

26*

Яндекс.Метрика